Психотронное оружие
Специализированные технические комплексы, осуществляющие психотронное влияние, получили название "Центр управления людьми и природой" (ЦУЛиП). Они имеют различное техническое исполнение, которое зависит от:
- назначения (массовое облучение населения или персонифицированное),
- примененных технологий психотронного влияния (КВ-станции, СВЧ-станции, торсионные генераторы),
- уровня развития радиоэлектроники.
Из истории
Историки постепенно публикуют все еще засекреченную информацию о немецком проекте "Тор", который разрабатывался в фашистской германии. В рамках этого проекта были созданы аппараты, позволяющие манипулировать сознанием населения. К 1944-му году в распоряжеии немецких ученых появились работоспособные образцы приборов и к концу войны на территории Германии уже работали до 15 станций, влияющих на сознание населения и собственных войск. Они были настроены на повышение боевого духа, фанатизма, воле к победе. Их воздействие нацеливалось прежде всего на "кристаллы воли" - особые образования в области гипофиза.

"Кристаллы воли" (из архива "Аненербе")
ЦУЛиПы
В Советском Союзе во многих городах устанавливались стационарные системы психотронного манипулирования сознанием населения "Воздушный змей", "Краб". [Рига]
Принцип действия "Воздушного змея", внедренного в Риге в 1980-х годах таков: населенный пункт охватывается когерентным полем, в котором люди обладают определенным общим качеством - то есть каждый из них здесь как бы "свой". Система срезала все аномалии, то есть, она уравнивала жителей по уровню интеллекта, физического тонуса и эмоционального настроя. Те, кто выходит за установленные планки, ощущают дискомфорт, враждебность окружающих людей и, в конце концов, опускаются в среднее состояние. При такой системе невозможны бунты и народные волнения. Система "Змей" регулировала уровень преступности и, по идее создателей, должна была способствовать безмятежному счастью и сплочению трудящихся людей. Ее эффективность оказалась настолько высокой, что она стала экспортным товаром, уходящим в страны СЭВ и Дальнего Востока.
Телецентр в Риге, где были установлены излучатели "Воздушного змея"
Система "Краб" была внедрена в Москве, Ленинграде, Алма-Ате и Душанбе. Это - более современная сеть пси-излучателей. Она позволяет манипулировать сознанием людей и подталкивает их на совершение различных запрограммированных поступков. Причем, в Душанбе в феврале 1990 года система дала сбой, и население города два дня находилось в полубезумном состоянии. Были разграблены все магазины и учреждения. В массовых беспорядках принимали участие милиция и внутренние войска.
Сведения о таких объектах, периодически прорывающиеся сквозь ограничения по секретности, скупы, но дают кое-какое отрывочное представление.
В наследство от Советского Союза, постсоветским государствам достались станции ЦУЛиП, разработки конца 1970-х годов. Такие станции установлены по всей России. Со времен ввода в эксплуатацию, эта система несколько раз модернизировалась, но, с конца 1980-х, ничего кардинально не менялось. Сегодня, эта система "прогнила" до основания, все что есть - осталось с советских времен. Управляют станциями военные, много гражданского персонала с подпиской. Ученых, да и вообще грамотных людей не встретишь - у рядовых сотрудников зарплаты нищенские.
Блок-схема расположения оборудования на советской станции ЦУЛиП
Сам комплекс занимает целое помещение, по большей части собран из стандартных советских приборов (генераторы, частотомеры, вольтметры, огромная "древняя" управляющая ЭВМ, магнетроны, волноводы), при работе очень громко гудит и сильно греется. В состав комплекса входит достаточно функциональный, для того времени, энцефалограф и транскраниальный электростимулятор с мощным максимальным током в 20 мА.
Энцефалограф и транскраниальный стимулятор подключаются к оператору. Оператор сидит в небольшом отдельном помещении. А вся система управляется техником. Он закладывает программу на пластиковой (как кинопленка) перфоленте, вводит параметры на пульте управления и нажимает кнопку.
В состав аппаратуры входит непонятный обычному специалисту по электронике и радиотехнике, по назначению, ящик, размером примерно 120 на 80 на 80 см, снаружи обшитый пенопластом. К этому ящику подходит пять волноводов, пучек кабелей, толщиной сантиметров в 10, и трубки от компресорного блока промышленного холодильника - в процессе работы ящик охлаждается до хорошей минусовой температуры ( -50 или -70).
В своей работе, система использует частоту в 44 гГц, и, в этой связи, возможно, в качестве агента воздействия, применяются торсионные поля.
В одном охраняемом здании таких комплексов может быть с десяток-другой. Несмотря на долгий век работы, такая система нигде в СМИ не освещалась, хотя все еще востребована для неосознанного влияния на население.
Психотронная обработка населения в Советском Союзе
А вот, испытание в 1973 году установки "Радиогипноз" в войсковой части 71592, где эта она и была создана (район Новосибирска), стало общеизвестным. Доклад об этом испытании "Воздействие на биологические объекты модулированными электрическими и электромагнитными импульсами" был заслушан в Институте радиотехники и электроники Российской Академии наук. Установка вырабатывает СВЧ-излучение, импульсы которого вызывают акустические колебания в мозге. Мощностей установки хватает, чтобы обработать город площадью около ста квадратных километров, погрузив всех его жителей в глубокий сон. Побочный результат действия установки - мутации в клетках организма. Акт испытаний подписали академик Ю.Кобзарев и доктор физико-математических наук Э.Годик. Практическую помощь в содействии и оформлении открытия оказывал генерал-полковник авиации В.Н.Абрамов. Курировал эти работы дважды Герой Советского Союза маршал авиации Е.Я.Савицкий.
Радиогипноз
В 1980-х - 90-х годах в СССР спецслужбы отрабатывали т.н "сетевой метод" психотронной обработки населения. В это время возникали массовые жалобы на облучение граждан спецслужбами. А в 1993 г. на семинарах "Академии Нового Мышления" были раскрыты технические подробности этой преступной вакханалии (которой по прежнему необходима уголовная оценка правоохранительных органов).
Психотронная обработка населения, применявшийся в СССР
По предоставленной информации, в основе методики психотронной обработки радиотехническими средствами лежит открытие нашего соотечественника Михайловского, который в середине 30-х годов установил, что различные комбинации электромагнитных импульсов длительностью от 20 мсек до 1,25 с, повторяющиеся с частотой 25-0,4 Гц и модулируемые на несущей радиочастоте в диапазоне средних и коротких волн, оказывают влияние на отдельные зоны мозга, ответственные как за эмоциональный настрой, так и за работу отдельных внутренних органов. В Советском Союзе широко применялся способ психотронной обработки, при котором мощность биоэнергетического генератора вводится в здание через бытовые сети: освещение, телефон, общая телевизионная антенна, радиосеть, охранная сигнализация и т.п. В результате психотронного кодирования жильцов этих квартир, происходят глубокие необратимые увечья, а у пожилых людей - преждевременная смерть. Нередки случаи, когда граждане покидают свой дом и становятся бомжами. (Н.Кромкина и др. "Почему в Москве пустуют квартиры?", статья в газете "41-ый" N 30, 1992 г.). Кодирующие-зомбирующие население сигналы также передавались на частотах телевидения и радиостанции "Маяк".
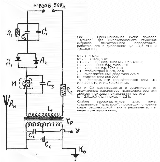
"Пульсар" для широкополосного глушения сигналов психотронного передатчика
Заместитель генерального директора НПО «Энергия» доктор технических наук В.Канюка возглавлял секретный комплекс в Подлипках (г. Королев), входивший в состав НПО “Энергия” (в то время руководитель - академик В.П.Глушко), где во исполнение закрытого Постановления ЦК КПСС и Совмина СССР от 27 января 1986 года был создан генератор специальных физических полей, предназначавшийся для корректирования поведения огромных масс населения. Эта аппаратура, выведенная на космическую орбиту, охватывала своим “лучем” огромную территорию, сравнимую по площади с Краснодарским краем.
Закрытая психотронная программа. Валерий Канюка
Повороты в истории развития и использования психотронного оружия настолько витиеваты, что достойны пристального внимания писателей и сценаристов.
4 июля 1976 года радиосвязь на всей планете в диапазоне 3 - 30 мГц нарушили неизвестные импульсы с интервалом в одну десятую секунды (вспомним Михайловского). Сигнал регистрировался не только специальной аппаратурой, но и был слышен в обычных радиоприемниках, как пульсирующий стук. На западе определили источник сигнала, это была точка недалеко от г. Славутич Черниговской области в Украине. Сейчас для нас эта станция более известна, как ЗГРЛС "Чернобыль-2", а на западе ее прозвали "Русский дятел", за создание характерных помех в эфире.
woodpecker_1984.mp3
«Русский Дятел» в коротковолновом радиоэфире, 2 ноября 1984 г.
Тогда запад охватила паника - первые полосы капиталистической прессы пестрели заголовками: “Русские стоят на пороге открытия новых технологий и вооружения, которые оставят в прошлом ракеты и бомбардировщики. Эти технологии позволят им разрушать до пяти американских городов в день посредством трансляции радиоимпульсов. Они смогут нести панику и болезни целым народам.” На западе подозревали, что проводилась передача загоризонтными РЛС сигналов, способных влиять на психику населения. Суть идеи заключалась в том, что несущий сигнал РЛС модулировался другим сигналом сверхнизкой частоты, который совпадал с частотами импульсов мозга, находящегося в состоянии депрессии или раздражения. Такие низкочастотные сигналы регистрировались и выделялись из излучений советских загоризонтных РЛС на территории многих западных стран.
В настоящее время распространена информация, что объект "Чернобыль-2" был задуман, якобы, как часть системы противоракетной и противокосмической обороны СССР, для обнаружения ядерного нападения в первые две-три минуты после запуска вражеских баллистических ракет. От Америки до Союза ракеты летели бы 25--30 минут, и можно было успеть принять контрмеры. С помощью коротких радиоволн, способных распространяться на тысячи километров, планировалось постоянно сканировать территорию Соединенных Штатов. Передатчик должен был посылать мощные импульсы, которые через Северную Европу и Гренландию доходили до США и, отраженные от следа факелов запущенных ракет, возвращались бы обратно. Их улавливала приемная антенна на станции "Чернобыль-2", и обрабатывали с помощью компьютеров. Но, на западе такие сигналы классифицировались как психоактивные и способные влиять на поведение людей.

Действительно, несущий сигнал станции находился в диапазоне от 3 до 30 мГц и был прерывистым с частотой 5 -25 Гц. Казалось бы, с технической точки зрения, все объяснялось вполне логично - частота менялась для определения наилучшего прохождения сигнала, а также отстройки от помех, а прерывистый сигнал служил для того, чтобы приемники принимали отраженный сигнал и не забивались бы мощным генерируемым излучением. Однако, не все так просто...
В 1969 году в Советском Союзе было принято решение о строительстве загоризонтных радиолокационных станций «Дуга-2» под Киевом (станция "Чернобыль-2") и на Дальнем Востоке - возле пос. Большая Картель (г. Комсомольск-на-Амуре, Хабаровский край). Причем, решение принималось после неудачных экспериментов с прототипом - станцией "Дуга" под Николаевом, которая своих прямых функций, - обнаружения пуска ракет, выполнить не смогла. А ведь еще на этапе принятия решения о создании РЛС "Дуга", специалисты предупреждали о неэффективности подобных комплексов для целей загоризонтной радиолокации, но, как ни странно, они подверглись жестким санкциям. Был изгнан в запас из управления военного заказчика ПВО полковник-инженер В.И.Зинин. В период подготовки предложений о создании ЗГРЛС, главный конструктор надгоризонтных РЛС А.Н.Мусатов представил в НТС НИИ Дальней Радиосвязи докладную записку, в которой доказывал, что на ЗГРЛС эхо-сигнал от факела МБР будет в десять тысяч раз слабее сигналов от помех и поэтому строить ЗГРЛС бессмысленно. В результате, Мусатов выгнан из НИИДАР, уволен из кадров Вооруженных Сил и исключен из членов КПСС.
Антенны станции "Чернобыль-2"
Станции под Киевом и Хабаровском по прямому назначению радиолокации так использовать и не удалось, с этой функцией они не справлялись. Зато на западе они, как психотронное оружие советов, сеяли панику, и запад предпринимал усилия для закрытия этих станций по дипломатическим каналам, а для блокирования сигнала "Чернобыль-2" в Норвегии был установлен мощный передатчик, электромагнитное излучение которого могло создавать нелинейные эффекты в ионосфере, мешающие нормальному распространению сигнала. Советские же станции упорно работали по "доводочной программе", пока в апреле 1986 года не была взорвана Чернобыльская АЭС, от которой питалась ЗГРЛС "Чернобыль-2". Узел-излучатель этой станции "Любеч-1", оказавшийся в 30 км зоне отчуждения, после аварии ЧАЭС был законсервирован, а в 1987 году было принято решение о его закрытии. Вскоре, после пожара на другой станции, - «Дуга-2» под Хабаровском, была закрыта и она.
Так что, для каких целей изначально разрабатывались и применялись такие системы можно только предполагать - либо для средств ПВО, либо именно - для психотронного влияния на население западных стран.
Антенны станции "Чернобыль-2"
По словам вице-президента Лиги независимых ученых Украины профессора Виктора Седлецкого, который с 1965 года участвовавал в первых опытах разработки «пси-оружия» в Институте проблем материаловедения в Киеве, в 1982 году генсек ЦК КПСС Андропов приказал создать в Украине Главный центр психотроники. Основные лаборатории размещались в подземных сооружениях, удаленных на 30 км от Чернобыльской АЭС. В них были разработаны несколько типов психотронных генераторов и там же проведена серия проверочных опытов. По сообщению Седлецкого, мощные радиолокационные комплексы загоризонтного действия имели прямое отношение к проблемам психотроники. Входящие в их состав фазированные антенные решетки, работавшие на излучение, управляли тета-дельта-ритмами мозга. Задачи управления отрабатывались на двух загоризонтных станциях - Чернобыль-2 (тип - «Дуга-2») и Красноярск-26 (тип - «Дарьял-У»), которые входили в единую психотронную систему с кодовым наименованием «Шар».Седлецкий опубликовал эту информацию еще в брежневские времена в самиздатовской газете "Тайны КГБ". Интересно, что в 1987 г. американская сторона обвинила Советский Союз в нарушении Договора между СССР и США по ограничению систем ПРО 1972 года, которым разрешалось размещение РЛС СПРН только по периметру государственной территории и дальнейшее строительство станции типа «Дарьял-У» в Красноярске-26 было прекращено.
«Дарьял-У» на ОРТУ "Енисейск-15", Красноярск-26







